专注传感器生产制造

满足全国市场需求

产品展示

TP3054 柱式拉压力传感器

TP3054柱式传感器结构简单紧凑,体积小,重量轻,坚固耐用,设计计算、机械加工、表面处理都极简单。采用单层膜片或双层膜片焊接密封工艺后,可获得很好的抗侧、抗扭能力。传感器刚性好,固有频率高,动态响应好,有利于动态测量。

枫庆服务热线
13817545496
021-56610867

TP3054柱式传感器结构简单紧凑,体积小,重量轻,坚固耐用,设计计算、机械加工、表面处理都极简单。采用单层膜片或双层膜片焊接密封工艺后,可获得很好的抗侧、抗扭能力。传感器刚性好,固有频率高,动态响应好,有利于动态测量。

产品特点

高精度、高稳定性

抗偏载能力强

输出对称性好、拉压两用。

产品应用

适用于料仓秤、配料秤、机电结合称、吊钩秤及其它力值的测量与控制及计算机控制配料系统等。

产品参数

技术参数

量程

2、3、5、10、15、20、30、50 t

灵敏度

2±0.1mv/V

输入阻抗

735±35Ω

综合精度

0.1 %F·S

输出阻抗

700±3Ω

蠕变

±0.05 %F·S/30min

激励电压

5~12 VDC

非线性

±0.05 %F·S

工作温度范围

-20~﹢70℃

滞后误差

±0.05 %F·S

允许过负荷

1.2倍

重复性误差

±0.05 %F·S

防护等级

IP66

零点温度系数

±0.02 %F·S/10℃

材质

合金钢

绝缘阻抗

≥2000MΩ

线缆

Φ5×2000mm

输出

0-10mV,4~20mA,0~5V,0~10V,R485,R232

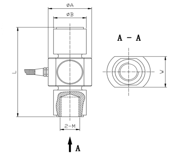
外形尺寸(mm)

image.png

量程

L

ΦA

ΦB

M

2T

104

56

41

M16*1.5

5T

100

68

38

M24*2

7.5/10T

128

84

48

M30*3

15/20T

154

94

60

M36*4

30/40T

176

119

80

M42*4

50T

260

120

110

M42*5.5

75~200T

根据客户需要的尺寸特定


名称:上海枫庆测控技术有限公司
联系人:汪经理   13817545496
座机:021-56610867
QQ : 2604380942
微信:13817545496
邮箱:wanglh@shfqck.com
网址:www.shfqck.com
英文官网:https://shfqck.en.alibaba.com/
地址:上海市普陀区交通路4703弄6号楼